Índice
Imagine uma noite de sono perfeita, onde o conforto é personalizado para atender às suas necessidades, a temperatura é ideal e preocupações com mofo e alergias são coisa do passado. A LG está pronta para tornar esse sonho uma realidade com uma inovadora cama inteligente, o que, convenhamos, é um verdadeiro marco na indústria do sono.
Com o registro da patente da smart bed, a marca está redefinindo o conceito de conforto noturno, introduzindo uma cama que não só se ajusta a você, mas também aprende com seus hábitos de sono.
Visão geral e seus principais componentes
A cama inteligente da LG é muito mais do que apenas um colchão. Ela se trata de um sistema de sono altamente completo que promete resolver diversos tipos de problemas e incômodos clássicos e antigos relatados pelas pessoas. Estamos falando de uma inovação capaz de proporcionar a melhor experiência de sono possível.

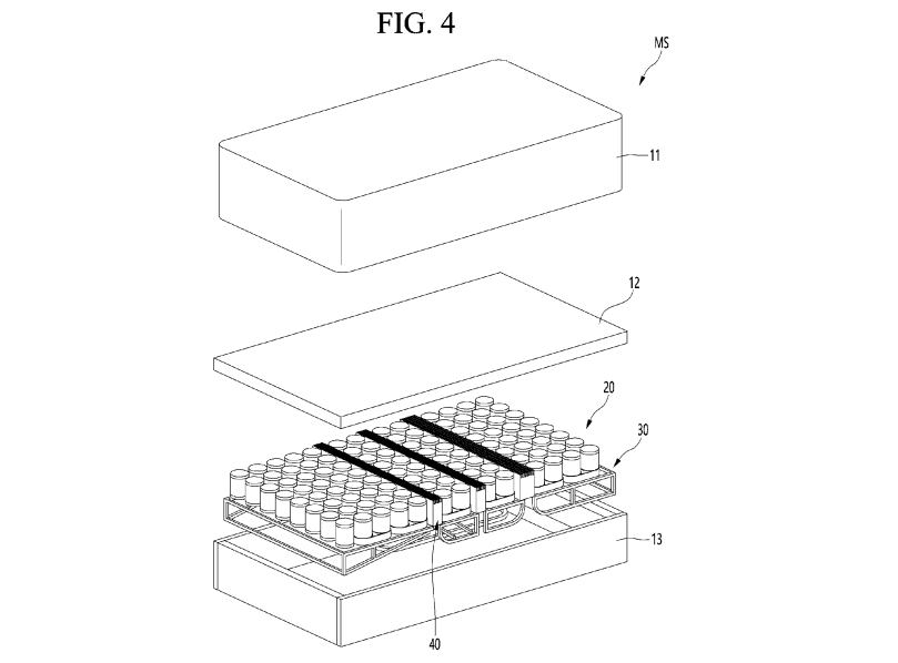
Incorporando diversos componentes essenciais que trabalham juntos, a cama cria um ambiente de sono personalizado e bastante saudável. Veja o que a patente prevê:
- Tampo: A parte superior do colchão é projetada para proporcionar bem-estar e comodidade ao máximo, utilizando de materiais como espuma de memória ou látex para garantir uma superfície aconchegante. Esses são componentes essenciais e amplamente conhecidos na fabricação de colchões, uma vez que conseguem proporcionar alívio de pressão, durabilidade e até uma sensação de luxo ao toque. A espuma de memória se molda ao corpo, enquanto o látex oferece um suporte resiliente.
- Módulo de almofadas: Abaixo do tampo, encontramos o módulo de almofadas, composto por uma matriz disposta em formato de grade. Ou seja, se trata de uma estrutura que contém várias almofadas posicionadas de forma organizada em um padrão. Elas são projetadas para trabalhar em conjunto, fornecendo suporte e conforto ao usuário. Essa disposição de grade permite uma distribuição mais uniforme, sendo a chave para a firmeza personalizável da cama.
- Ajustadores de firmeza: Tendo em vista o módulo das almofadas, elas são organizadas em diferentes seções chamadas de ajustadores de firmeza. Eles podem ser ajustados independentemente para atender às preferências individuais de conforto. Isso significa que, se você preferir uma área do colchão mais firme para a área da lombar, mas uma área mais macia para os ombros, pode facilmente ajustar essas seções de acordo com suas necessidades. Ela pode aliviar pontos de pressão e fazer com que a cama se adapte ao seu estilo de sono ao longo do tempo.
- Capa de higiene: Uma capa especial também envolve o tampo, o módulo de almofadas e outros componentes, garantindo que a cama permaneça fresca e limpa.
- Estrutura ajustável: Provando que a inovação é focada em ser realmente personalizada, a estrutura de cama é projetada para também ajustar a posição e orientação do colchão, permitindo uma variedade de maneiras para dormir e relaxar. O que esse componente oferece é a capacidade de ajustar a cama para encontrar a posição perfeita para leitura, assistir TV, trabalhar no notebook ou simplesmente relaxar. Além disso, essa flexibilidade é crucial para pessoas com necessidades específicas devido a problemas de saúde, como refluxo ácido, apneia do sono ou dores nas costas, por exemplo.
- Sistema de secagem: Para manter a higiene, a LG também revolucionou com um sistema de secagem que utiliza um ventilador, filtro e aquecedor para circular ar quente e filtrado em toda a cama. Isso combate a umidade e ainda mantém o colchão fresco e limpo, principalmente quando o assunto é proteção contra mofo e alergênicos. Toda essa tecnologia promove um ambiente de sono saudável, prolonga a vida útil do colchão, mantém um odor fresco e contribui para o conforto do sono.
Recursos inovadores da cama inteligente

Sono sob medida
A cama inteligente da LG também reescreve as regras do conforto noturno. Graças a câmaras de ar integradas no colchão, você pode ajustar a firmeza do seu lado da cama de forma independente. Isso faz com que se coloque um ponto final nas negociações sobre a firmeza do colchão, principalmente entre casais. Por justamente ser personalizado, não se tem mais nenhuma necessidade de compromissos. Ambos podem desfrutar do nível de conforto ideal de acordo com suas respectivas escolhas.
Temperatura dos sonhos
Um dos maiores desconfortos durante o sono também se refere ao controle climático. Regular a temperatura acaba sendo um desafio e, sabendo disso, a LG investiu em sensores avançados que monitoram continuamente a temperatura. Com isso, a cama faz ajustes automaticamente para atender às suas preferências. Se você tende a sentir calor ou frio, ela mantém uma temperatura perfeita, proporcionando noites de sono sem interrupções e assegurando que você acorde revigorado e pronto para o dia.
Otimização de dados para o sono
Em um mundo de conectividade, a LG quis mostrar que até mesmo o colchão de uma cama pode estar conectado. A novidade também introduz recursos inteligentes que permitem que você monitore seus hábitos e preferências de sono. Isso significa que, com o tempo, a cama aprende com o seu comportamento e se adapta para garantir uma experiência de sono mais otimizada.
Adaptabilidade total
A cama é modular, permitindo que você personalize mais ainda toda a experiência. Mesmo com todos os recursos, é possível que haja uma troca de componentes se você desejar. Topper ou o módulo de almofadas podem ser alterados, favorecendo uma mudança na própria cama segundo seu gosto e conforto. Basicamente, você é capaz de alterar todo o design dela.
Sem perturbações noturnas
O sistema de ajuste de firmeza e a parte da secagem operam silenciosamente, o que garante que você não seja incomodado durante a noite. Além disso, a eficiência energética é uma prioridade, contribuindo para um ambiente de sono ideal e sustentável. Existe silêncio atuando com eficiência energética aqui.

Essa não é apenas uma cama, mas uma revolução no sono. É certo de que agora, o sonho de uma noite de sono perfeita chegou a se tornar uma realidade palpável.
Para os mais interessados, a StudiMO também disponibilizou o registro da patente aqui.
Veja também:
LG lança Gram Fold, notebook com tela dobrável
Fonte: StudiMO
Revisado por Glauco Vital em 18/10/23.
Descubra mais sobre Showmetech
Assine para receber nossas notícias mais recentes por e-mail.
1 comentário
Deixe um comentário
Você precisa fazer o login para publicar um comentário.
Gostaria de saber onde comprar a cama inteligente da LG.
Resido em RECIFE/PE